Tece трапы и душевые лотки в Сочи
72 товара
Артикул:
15103069
49698.00 руб
Артикул:
673003
30789.00 руб
Артикул:
611200
117513.00 руб
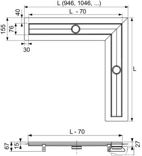
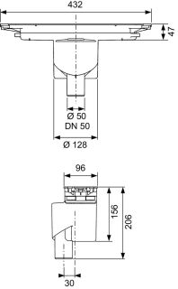
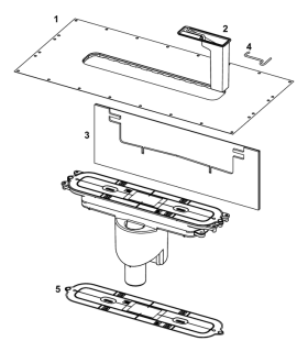
Многочисленный выбор душевых трапов под плитку от производителя Tece представлен в данном разделе.
